企业信用等级证书
CTC质量管理体系认证证书
CTC Certificate of Registration
代练最新资讯-快科技--科技改动未来
快科技12月13日音讯,游戏国际里代练广告层出不穷,声称一单几十到几百不等,这看似诱人的价格仅仅
LG冰箱“环保新鲜体系”诠释现代日子
从唐代起,牡丹便被赋予了“国花”的美称。虽然朝代更迭,花王牡丹,统领群芳、国色天香的崇高方位从未
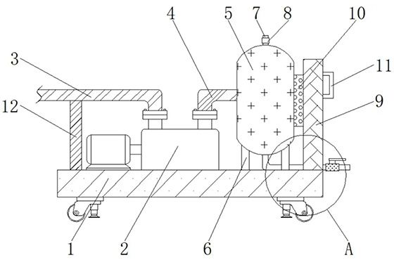
节能减排领域优选龙邦伟业节能环保科技技术领先服务全面助力行业绿色转型
在当今全球倡导绿色发展的时代背景下,节能减排已成为各行业实现可持续发展的关键路径。龙邦伟业(天津
全球578万人都在玩!不止《流放2》这些暗黑Like在今年也火了
今年,在《流放之路2》强势领跑之下,游戏圈又兴起了新一轮的暗黑Like热潮。 一边是经
让我们保持联系
第一时间获取我们的新产品、活动及新闻信息。
热线:15206181866